This is an explosion-proof absolute encoder from P+F, which is highly popular due to its explosion-proof capabilities. Last month, we received a commission from a mining company to customize an alternative solution to shorten the delivery time.
This mining company needed 100 explosion-proof absolute encoders, but the delivery deadline was very short, only about two weeks. After communication with the project party, we offered a delivery time of 15 working days, which is the maximum capacity we can offer.
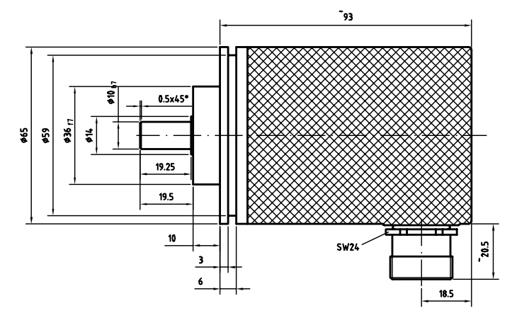
This is an SSI protocol multi-turn absolute encoder with a resolution of 4096*4096, a 78mm outer diameter, and made of aluminum alloy. It features a clamping flange, a 12mm solid shaft, and the output code is binary code.

Our alternative solution is 1:1, the difference being that ours has a stainless steel casing. Additionally, we offer the output direction as side output, which is identical in application, achieving a perfect substitution.
In this way, we completed the delivery within 15 working days. The key points of this product are the explosion-proof performance and the 78mm casing size; encoders of this size are relatively rare in the market for interchangeability.
In our country, the procurement cycle is generally urgent. Most of the time, the delivery period of several weeks is not something that can be waited for, so the demand for commissioned customization has gradually emerged.
In fact, we have been providing custom services for explosion-proof absolute encoders. Of course, these are first commissioned developments for large enterprises, and then we can serve customers with small quantities of products. For this 78E series product, we also provide various communication protocols such as Profibus, Profinet, Ethernet, and CANopen.
Today, I am writing this blog post to record the experience.
If anyone has such needs, they can contact me.

